Dernier achat
CHF 58.35 CHF 58.35 /1000 pièce TVA incluse
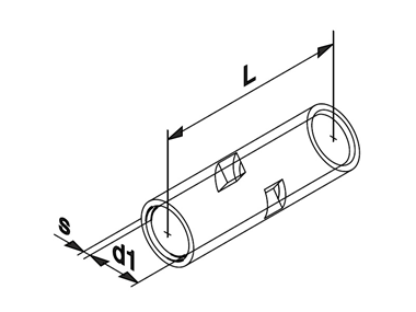
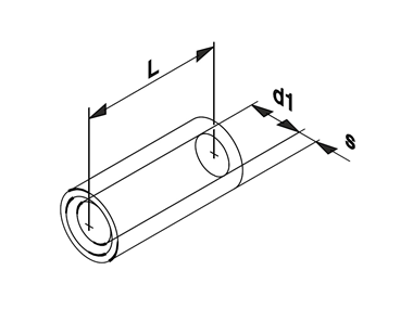
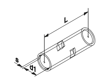
21.11.1138
